群控群調裝置讓新型電力系統經歷了一場蛻變
發布者:杭州領祺科技有限公司
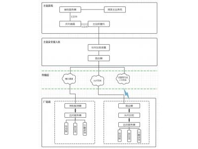
群調群控裝置作為光伏發電站二次設備中的遠動工作站裝置,通信規約轉換裝置,群調群控裝置,是光伏電站自動化系統的一個重要組成部分.
27
2024-08
群控群調裝置讓新型電力系統經歷了一場蛻變
發布者:杭州領祺科技有限公司
群調群控裝置作為光伏發電站二次設備中的遠動工作站裝置,通信規約轉換裝置,群調群控裝置,是光伏電站自動化系統的一個重要組成部分.
22
2024-08
光伏發電的歷史起源、分類、原理、前景
發布者:杭州領祺科技有限公司
光伏發電的歷史起源1839年,19歲的法國貝克勒爾做物理實驗時,發現在導電液中的兩種金屬電極用光照射時電流會加強,從而發現了“光生伏打效應”。1930年,郞格首次提出用“光伏效應”制造太陽能電池,使太陽能變成電能。1932年奧杜博特和斯托拉制成第一塊“硫化鎘”太陽能電池。1941年奧杜在硅上發現光伏..
30
2024-08
分布式光伏電站的可觀、可測、可調、可控
發布者:杭州領祺科技有限公司
杭州領祺科技多合一5G整合終端、群控群調裝置可以實現電力調度中心對所有地方電廠和分布式光伏的統一調度,滿足分布式電源“可觀、可測、可調、可控”的要求。
17
2023-05
三合一光伏箱變智能測控裝置發展趨勢
發布者:領祺科技
一、三合一光伏箱變智能測控裝置發展前景自動監控系統在光伏電站的運行中起著重要的作用。在數據采集和維護的基礎上,控制發電設備,完成光伏發電設備的遠程管理和自動監控,形成無人值班和少人值班的運行管理模式。在數據采集和維護的基礎上,控制發電設備,完成光伏發電設備的遠程管理和自動監控,形成無人值班和少人值班..
20
2022-12
工信部電子行業標準 戶用光伏并網發電系統第2-5部分:設計 規范系統接入設計 遵循意見稿
發布者:杭州領祺科技有限公司
戶用光伏并網發電系統第2-5部分:設計規范系統接入設計Residentialgrid-connectedphotovoltaicsystem-Part2-5:Designspecifications-gridconnection(征求意見稿)2022年8月26日在提交反饋意見時,請將您知道的相關專利..
10
2022-12
變電站配電站配電房動力監控安防測控防雷消防一體化集成智能集控解決方案——高速軌道交通隧道橋梁戶外變電站
發布者:杭州領祺科技有限公司
總體架構杭州領祺綜合監控主機服務器及智能測控隨著智能電網的不斷推進,供配電安全也逐漸進入人們的視野,傳統人工巡檢的方式與當前智能化配電室的建設顯得格格不入。一種智能化、高效率的配電室環境監控系統(配電室動環系統)成為智能電網建設中重要的一環。配電室環控系統主要由環境監控、設備狀態監控、視頻監控、安防..
02
2022-12
國家能源局推動新能源發電項目應并盡并-領祺科技承接新能源電站并網數據調度網全套通信工程,加密隔離防入侵測控安防輔控全套
發布者:杭州領祺科技有限公司
中國電力網國家能源局近日發布《關于積極推動新能源發電項目應并盡并、能并早并有關工作的通知》,提出各電網企業在確保電網安全穩定、電力有序供應前提下,按照“應并盡并、能并早并“原則,對具備并網條件的風電、光伏發電項目,切實采取有效措施,保障及時并網。據悉,具備并網條件的風電、光伏發電項目,允許分批并網,..
12
2024-09
“追”光發電并網模式
發布者:杭州領祺科技有限公司
杭州領祺科技有限公司提供光伏發電中的二次設備,一站式配齊。光伏后臺監控系統、光功率預測系統、通訊管理機、遠動通訊屏、調度數據網屏、光伏二次安防屏、防孤島保護裝置、電能質量在線監測裝置、故障解列裝置等。